GM¶
gen 4¶
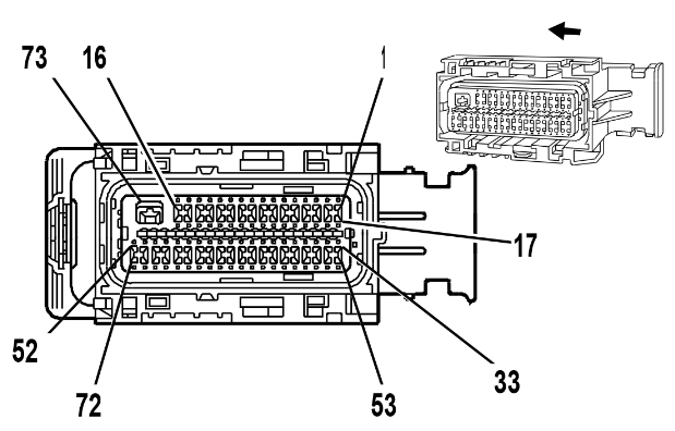
https://rusefi.com/docs/pinouts/GM-E38 Tahoe
https://rusefi.com/docs/pinouts/GM-E40
https://rusefi.com/docs/pinouts/hellen/hellen-gm-e67/
2.0T Ecotec LNF¶
https://rusefi.com/docs/pinouts/GM-LNF HHR
https://rusefi.com/docs/pinouts/GM-LNF-adapter/
https://en.wikipedia.org/wiki/GM_Ecotec_engine#2.0_LNF_(Z20NHH_Opel)
Bosch E69 is related to med9.6?
E39A¶
List of Global A platform vehicles
Older inline-4 & older v6
https://rusefi.com/docs/pinouts/GM-E39A/
https://rusefi.com/docs/pinouts/E39A-adapter/
https://github.com/rusefi/rusefi_documentation/blob/master/OEM-Docs/GM/2014-Chevrolet-Malibu-2.5.pdf
https://github.com/rusefi/rusefi_documentation/blob/master/OEM-Docs/GM/2014-Chevrolet-Camaro-v6.pdf
TCU¶
https://rusefi.com/docs/pinouts/GM-E87-TCU/
https://rusefi.com/docs/pinouts/GM-E87-TCU-adapter/
E80¶
Newer inline-4
https://rusefi.com/docs/pinouts/GM-E80/ Cadillac ATS
https://rusefi.com/docs/pinouts/E80-adapter/ e92 to adapter
E82¶
Newer v6
https://rusefi.com/docs/pinouts/GM-E82/
E92¶
v8
https://rusefi.com/docs/pinouts/GM-E92/
https://rusefi.com/docs/pinouts/E92-adapter/
https://rusefi.com/docs/pinouts/E92-blue-adapter/
https://en.wikipedia.org/wiki/GM_Ecotec_engine#Generation_III


E99¶
https://rusefi.com/docs/pinouts/GM-E99/
Global B
12724875 2024 CT5
49 blue 0345760303
49 black 0345760103